信用档案
                
                    手机上查看
                    
                            
                                 
                                
                            
                    
                
             
                                
                                    用手机扫码二维码
在手机上继续查看
已扫 0 次
                            在手机上继续查看
已扫 0 次
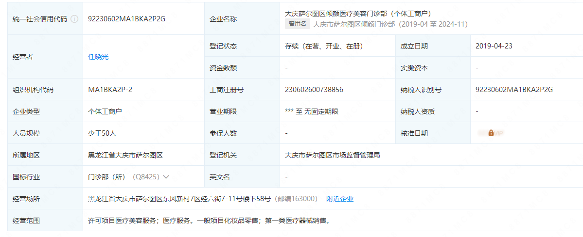
| 审批机关 大庆市萨尔图区市场监督管理局 | 机构类型 民营医院 / 医疗整形美容医院 | 级别 门诊部 |  医疗机构执业许可证登记号 92230602MA1BKA2P2G | 
| 法定代表人 任晓光 | 成立日期 2019-04-23  | 人员规模 0人 | 经营场所面积 2000m² | 
| 注册资本 0万人民币 | 实缴资本 0万人民币  | 诊疗科目 医疗美容科  |  美容外科  |  美容牙科  |  美容皮肤科 //麻醉科 //医学检验科****** | |
                        信息来源:国家卫生健康委员会官网&全国企业信用信息公示系统。
                        查看证件照
                    
                
                 大庆倾颜医疗美容距今已成立10余年,位于黑龙江省大庆市萨尔图区晚报大街58号,独栋2层楼,占地约900平方米,是大庆比较有名的美容整形机构,2019年期间又重新对医院环境、技术、服务及设备全面升级,诊疗环境尊贵大气,简约温馨。
大庆倾颜内设整形美容中心、皮肤美容中心、无创美容中心、牙科美容中心四大美容整形中心,主要服务项目有精致媚眼成形术、日式芭比下睑开大术、肋软骨隆鼻术、网红M唇、唇角上扬、酒窝梨涡、五官精致化、吸脂术、脂肪填充术、隆胸、丰臀、微整形、面部提升等;皮肤类项目有小气泡、高压补水、黑脸娃娃、白瓷娃娃、光子嫩肤、欧洲之星祛痘坑祛妊娠纹疤痕、祛斑祛痣、纹眉眼唇等;口腔类项目有牙齿美白、正畸、牙齿贴面、全瓷牙、洗牙等百余种高品质的特色医疗美容服务,全方位解决顾客难题。
            
            
            大庆倾颜内设整形美容中心、皮肤美容中心、无创美容中心、牙科美容中心四大美容整形中心,主要服务项目有精致媚眼成形术、日式芭比下睑开大术、肋软骨隆鼻术、网红M唇、唇角上扬、酒窝梨涡、五官精致化、吸脂术、脂肪填充术、隆胸、丰臀、微整形、面部提升等;皮肤类项目有小气泡、高压补水、黑脸娃娃、白瓷娃娃、光子嫩肤、欧洲之星祛痘坑祛妊娠纹疤痕、祛斑祛痣、纹眉眼唇等;口腔类项目有牙齿美白、正畸、牙齿贴面、全瓷牙、洗牙等百余种高品质的特色医疗美容服务,全方位解决顾客难题。
口碑评价 (3 点评) 
                
                    查看全部点评
                    
                    
                
            - 
                                     如今rt
                                            
                                            | 2025年10月13日# 水光补水第三次打水光注射配谷胱甘肽,效果太惊艳了!原本晒黑的肤色均匀白回来,脸颊还泛着自然光泽,摸起来滑溜溜的,连粉底液都换白了一个色号,这钱花得太值了!... 展开 如今rt
                                            
                                            | 2025年10月13日# 水光补水第三次打水光注射配谷胱甘肽,效果太惊艳了!原本晒黑的肤色均匀白回来,脸颊还泛着自然光泽,摸起来滑溜溜的,连粉底液都换白了一个色号,这钱花得太值了!... 展开
- 
                                     就你了
                                            
                                            | 2024年04月26日# 玻尿酸额头玻尿酸丰额头是在额头直接注射的。一般在注射前医生会进行局部的麻醉和神经组织麻醉,所以术中是不会感到痛的,但玻尿酸注射皮肤后会立马膨胀起来,医生就可以进行塑形。这个过程最多是不超过1h的。第二当玻尿酸注射后,在24h内不要用手去碰,以休息为主,同时面部表情不宜太多,24h后就基本定型了。... 展开 就你了
                                            
                                            | 2024年04月26日# 玻尿酸额头玻尿酸丰额头是在额头直接注射的。一般在注射前医生会进行局部的麻醉和神经组织麻醉,所以术中是不会感到痛的,但玻尿酸注射皮肤后会立马膨胀起来,医生就可以进行塑形。这个过程最多是不超过1h的。第二当玻尿酸注射后,在24h内不要用手去碰,以休息为主,同时面部表情不宜太多,24h后就基本定型了。... 展开
医生团队 (1 人) 
                
                    查看全部医生
                    
                    
                
            笔记 (1 笔记) 
                
                    查看全部笔记
                    
                    
                
            收藏 (0 收藏) 
                
                    查看全部收藏
                    
                    
                
            笔记(0)
                                            
                            暂无笔记
                        
                                    专辑(0)
                                            
                            暂无专辑
                        
                                    话题(0)
                                            
                            暂无话题
                        
                                    懂美号 (1 文章) 
                
                    查看全部文章
                    
                    
                
             
                 
                 
                     
                                         
                             
                                 
                                